-
Q1上机预约和送样预约是什么意思?
上机预约是指用户根据预约时间预约仪器,个人自主上机操作仪器;
送样预约是指根据用户送样时间将样品送到仪器所在实验室,自己不做操作,由仪器负责人安排人员使用仪器对样品进行检测,并发放检测报告。
-
Q2上机预约的流程是什么?
1.在【预约服务】页面搜索需要预约的仪器,点击“上机预约”按钮,进入预约页面;

2.选择日期以及需要预约使用的时间段,然后点击“下一步”;

3.填写相关实验信息,点击“去支付”进入支付页面;

4.选择支付方式进行支付,在“收费明细”模块可查看预约费用明细,确认无误后点击“确认并提交”按钮提交预约申请,待管理员审核通过后方可预约成功;

-
Q3如何查看仪器上机预约审核进度?
在【个人门户-上机预约-我的预约】页面,可查看对应预约订单的审核状态以及当前审核步骤;

或可点击查看订单详情,在订单详情页面最下方可查看订单审核流程;
-
Q4上机预约成功后,我到场进行实验时,需要做什么?
1.在【个人门户-上机预约-我的上机】页面,点击对应上机订单的“操作台”按钮,进入操作页面;

2.点击“开始实验”按钮开始订单,同时开始仪器上机计时计费;使用完成后,点击“结束实验”按钮结束订单,并结束计时计费;

-
Q5送样预约的流程是什么?
1.在【预约服务】页面搜索需要预约的仪器,点击“送样预约”按钮,进入送样预约页面;

2.选择送样时间以及相关实验信息,然后点击“去支付”进入支付页面;

3.选择支付方式进行支付,在“收费明细”模块可查看预约费用明细,确认无误后点击“确认并提交”按钮提交预约申请,待管理员审核通过后方可预约成功;

-
Q6送样预约成功后,需要做什么?
只需将需要检测的样品按照预约时间提交给对应仪器的负责人或仪器负责人指定地点即可;
-
Q7送样完成后,如何查看自己送样订单的进度?
在【个人门户-送样预约-我的预约】页面,可查看对应送样订单的状态以及当前步骤;

或可点击“进度”按钮,查看订单进度;

-
Q8如何查看自己送样订单的检测报告?
若订单进度为“报告可领取”,用户在【个人门户-送样预约-我的报告】页面,可查看/下载对应订单的检测报告;

-
Q9已完成的上机/送样订单费用如何支付?
用户如果在预约时选择的支付方式为“先付后用”,在订单完成后无需再次支付;
用户如果在预约时选择的支付方式为“先用后付”,订单结束后,用户需在【个人门户-上机预约/送样预约-我的费用】页面,可对已完成的上机/送样订单进行支付;

-
Q10上机/送样订单费用支付失败怎么办?
用户可在【个人门户-上机预约/送样预约-我的费用】页面,进行重新支付;

-
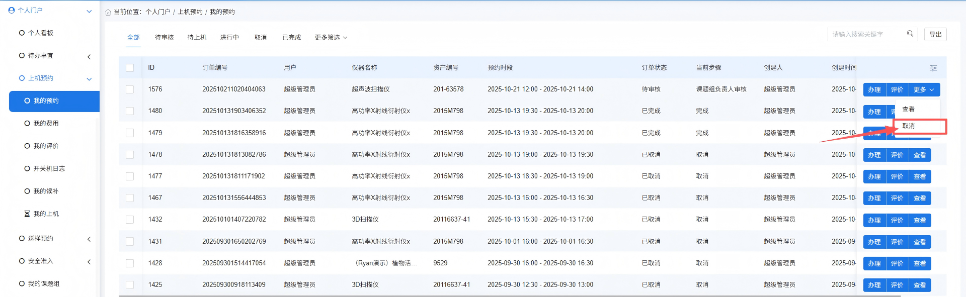
Q11如何取消订单?
用户可在【个人门户-上机预约/送样预约-我的预约】页面,点击对应订单的“取消”按钮取消订单;

-
Q12上机预约时可以预约非连续时段吗?
不可以,如果要预约非连续时段,需分多个订单进行预约。
-
Q13预约订单结束时间,电源控制终端会不会自动断电,订单是否会继续计时计费?
如果到了预约结束时间,电源控制终端不会自动断电,订单会继续计时计费;
电源控制终端是用户点击“开始实验”开始通电,点击“结束实验”才会断电;
订单是以用户点击“开始实验”开始计时计费,点击“结束实验”结束计时计费;
-
Q14为什么有些仪器我预约不了?
你预约不了有以下原由:
1.仪器设备未开放或你不在仪器的开放用户范围内;
2.仪器未设定预约规则和计费规则;
3.你的信用分过低无法预约;
4.你未通过该仪器的考试/培训,或者未上传承诺书/合同;
5.你被加入仪器黑名单;
-
Q15电脑重启/断电是否会导致订单结束?
不会。订单是以用户点击“开始实验”开始计时计费,点击“结束实验”结束计时计费;
-
Q16如何绑定/解绑微信或者其他第三方平台账号?
在【个人门户-个人中心-账号安全】页面,可进行第三方平台账号的绑定/解绑操作;

-
Q17如何加入导师课题组?
用户可申请加入课题组,课题组负责人/PI助理审核通过后方可加入成功;也可联系课题组负责人/PI助理手动将你添加进课题组(前提是你必须已经登录过平台);
1.用户点击主页右上角头像“加入课题组”按钮,跳转到加入课题组申请页面;也可通过点击【个人门户-我的课题组】,跳转到加入课题组申请页面;

2.点击【加入】按钮。

3.可根据课题组名称或者课题组负责人姓名/工号搜素申请加入课题组,待课题组负责人/PI助理审核通过后加入成功。

-
Q18是不是必须加入课题组,课题组的作用是什么?
用户只有加入导师课题组,才能使用导师的课题组经费预约使用仪器。
若不加入课题组,用户可通过平台充值的方式,使用个人账户余额进行仪器预约。
